1. 空分站工藝(yi)流程簡介
空(kong)分(fen)裝(zhuang)(zhuang)置(zhi)(zhi)(Air Separation Unit,ASU)是用來(lai)分(fen)離空(kong)氣(qi)(qi)中的(de)各組分(fen)氣(qi)(qi)體,為全廠工藝裝(zhuang)(zhuang)置(zhi)(zhi)及各輔助(zhu)裝(zhuang)(zhuang)置(zhi)(zhi)提供所需要的(de)氧(yang)氣(qi)(qi)、氮氣(qi)(qi)、氬氣(qi)(qi)等氣(qi)(qi)體和液體產品的(de)裝(zhuang)(zhuang)置(zhi)(zhi)。氧(yang)氣(qi)(qi)和氮氣(qi)(qi)是煉化(hua)裝(zhuang)(zhuang)置(zhi)(zhi)中不(bu)可缺少(shao)的(de)原料(liao)氣(qi)(qi)和保護氣(qi)(qi)。
在空(kong)分(fen)(fen)(fen)領(ling)域中,深(shen)冷法(fa)(fa)、變(bian)壓吸附法(fa)(fa)、膜分(fen)(fen)(fen)離法(fa)(fa)是(shi)應用(yong)于(yu)工業生產(chan)(chan)的(de)(de)(de)三大分(fen)(fen)(fen)離方(fang)(fang)法(fa)(fa)。深(shen)冷法(fa)(fa)是(shi)傳統的(de)(de)(de)制(zhi)氧(氮(dan))方(fang)(fang)法(fa)(fa),在國內外的(de)(de)(de)制(zhi)氧(氮(dan))行業中仍占據著統治地位,適用(yong)于(yu)氧(氮(dan))氣需求量(liang)大、純度高,且(qie)要求連續供(gong)氣,并將液(ye)氧(氮(dan))作為儲備(bei)氣源的(de)(de)(de)生產(chan)(chan)場合(he),變(bian)壓吸附法(fa)(fa)(PSA)和膜分(fen)(fen)(fen)離法(fa)(fa)是(shi)新興的(de)(de)(de)制(zhi)氧(氮(dan))方(fang)(fang)法(fa)(fa),其技術日臻(zhen)成熟(shu),適用(yong)于(yu)氧(氮(dan))氣需求量(liang)小、純度低、開停(ting)迅(xun)速、操作彈性大、無需液(ye)體產(chan)(chan)品的(de)(de)(de)生產(chan)(chan)場合(he)。
目(mu)前,國(guo)內外大型空分(fen)(fen)裝置(zhi)流(liu)(liu)程(cheng)多數采(cai)用深(shen)冷法。根據(ju)(ju)產品壓縮(suo)(suo)情況,深(shen)冷法可分(fen)(fen)為(wei)外壓縮(suo)(suo)流(liu)(liu)程(cheng)和內壓縮(suo)(suo)流(liu)(liu)程(cheng)。其中(zhong),內壓縮(suo)(suo)流(liu)(liu)程(cheng)較為(wei)廣泛地應用在冶金、石油化工等行業。根據(ju)(ju)循(xun)環(huan)(huan)增壓機壓縮(suo)(suo)介(jie)質的(de)不同,內壓縮(suo)(suo)流(liu)(liu)程(cheng)通常可分(fen)(fen)為(wei)空氣循(xun)環(huan)(huan)流(liu)(liu)程(cheng)和氮氣循(xun)環(huan)(huan)流(liu)(liu)程(cheng)。
空分設(she)備系統,如圖5-150所示(shi)。

目前空分(fen)設備(bei)(bei)流程(cheng)(cheng)(cheng)主要(yao)分(fen)為外(wai)壓(ya)(ya)(ya)縮(suo)流程(cheng)(cheng)(cheng)和內壓(ya)(ya)(ya)縮(suo)流程(cheng)(cheng)(cheng)。外(wai)壓(ya)(ya)(ya)縮(suo)流程(cheng)(cheng)(cheng)就(jiu)是(shi)空分(fen)設備(bei)(bei)生(sheng)產低壓(ya)(ya)(ya)氧(yang)(yang)(yang)(yang)氣,然后經(jing)氧(yang)(yang)(yang)(yang)壓(ya)(ya)(ya)機加壓(ya)(ya)(ya)至所需壓(ya)(ya)(ya)力供給用(yong)戶。內壓(ya)(ya)(ya)縮(suo)流程(cheng)(cheng)(cheng)是(shi)相(xiang)對于外(wai)壓(ya)(ya)(ya)縮(suo)而言的(de)(de)。就(jiu)是(shi)取(qu)消氧(yang)(yang)(yang)(yang)壓(ya)(ya)(ya)機,直(zhi)接從(cong)空分(fen)設備(bei)(bei)生(sheng)產出中高(gao)壓(ya)(ya)(ya)的(de)(de)氧(yang)(yang)(yang)(yang)氣供給用(yong)戶。內壓(ya)(ya)(ya)縮(suo)流程(cheng)(cheng)(cheng)與(yu)外(wai)壓(ya)(ya)(ya)縮(suo)流程(cheng)(cheng)(cheng)的(de)(de)主要(yao)區別在于產品氧(yang)(yang)(yang)(yang)的(de)(de)供氧(yang)(yang)(yang)(yang)壓(ya)(ya)(ya)力是(shi)液氧(yang)(yang)(yang)(yang)在冷箱內經(jing)液氧(yang)(yang)(yang)(yang)泵加壓(ya)(ya)(ya)達(da)到的(de)(de),如圖5-151所示。

2. 空壓站(zhan)工藝流程簡介
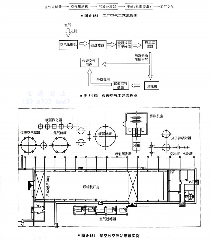
在(zai)煉(lian)油(you)和石油(you)化工(gong)(gong)企業的(de)(de)(de)生產(chan)中,作為常用吹掃介(jie)質的(de)(de)(de)工(gong)(gong)廠(chang)(chang)空氣及(ji)儀表(biao)動力(li)來源的(de)(de)(de)儀表(biao)空氣是必不可少的(de)(de)(de)。因此,在(zai)煉(lian)油(you)和石油(you)化工(gong)(gong)企業的(de)(de)(de)工(gong)(gong)廠(chang)(chang)設計中,經常能遇到(dao)作為重要(yao)輔(fu)助設施的(de)(de)(de)空壓站的(de)(de)(de)設計。
工(gong)廠空(kong)氣工(gong)藝(yi)流程圖,如(ru)圖5-152所(suo)示。儀表空(kong)氣工(gong)藝(yi)流程圖,如(ru)圖5-153所(suo)示。

3. 某空分空壓站(zhan)布置實例(圖5-154)

