①. 此處的高點(dian)排(pai)(pai)(pai)氣(qi)及(ji)低點(dian)排(pai)(pai)(pai)液是指在PID圖上可以不表示的。高點(dian)排(pai)(pai)(pai)氣(qi)用于水壓試驗(yan)及(ji)液體管道的排(pai)(pai)(pai)氣(qi),低點(dian)排(pai)(pai)(pai)液用于水壓試驗(yan)及(ji)停(ting)車(che)排(pai)(pai)(pai)凈(jing)等(deng)。PID圖上所(suo)表示的排(pai)(pai)(pai)氣(qi)和排(pai)(pai)(pai)液應按流程要求,并遵循有(you)關規定進行設計。
②. 不銹鋼管(guan)道的高點與低點均應分別備有排氣口與排液口,并位于容易接近的地方。如該處(相同高度)有其他接口可利用時,可不另設排氣口或排液口。除管廊上的管道外,對于公稱直徑小于或等于25mm的管道可省去排氣口。對于蒸汽伴熱管迂回時出現的低點處,可不設排液口。
③. 高(gao)點排(pai)氣管(guan)的(de)公(gong)(gong)稱(cheng)直徑(jing)最小(xiao)應為15mm;低點排(pai)液(ye)管(guan)的(de)公(gong)(gong)稱(cheng)直徑(jing)最小(xiao)應為20mm。當主管(guan)公(gong)(gong)稱(cheng)直徑(jing)為15mm時(shi),可采用等(deng)(deng)徑(jing)的(de)排(pai)液(ye)口(kou)。SH3012規定了(le)放氣口(kou)、排(pai)液(ye)口(kou)的(de)最小(xiao)公(gong)(gong)稱(cheng)直徑(jing),對(dui)(dui)于(yu)(yu)小(xiao)于(yu)(yu)或等(deng)(deng)于(yu)(yu)DN25的(de)為15mm,對(dui)(dui)于(yu)(yu)DN40~150的(de)為20mm,對(dui)(dui)于(yu)(yu)DN200~350的(de)為25mm,對(dui)(dui)于(yu)(yu)大于(yu)(yu)或等(deng)(deng)于(yu)(yu)DN400的(de)為40mm。高(gao)黏度介質管(guan)道(dao)排(pai)液(ye)口(kou)大于(yu)(yu)或等(deng)(deng)于(yu)(yu)DN25。
④. 氣(qi)體(ti)管道的高點排氣(qi)口可不設(she)閥(fa)門,接(jie)管口應采(cai)用法蘭蓋或管帽等(deng)加以(yi)封閉。
⑤. 所(suo)有(you)排液口(kou)最低點(dian)與(yu)地面或平臺的距離不宜小于150mm。
⑥. 飽和蒸汽(qi)(qi)管道(dao)的低點應設(she)集液包及(ji)蒸汽(qi)(qi)疏水閥組。
⑦. 對(dui)于(yu)(yu)全廠性的(de)(de)(de)工藝、凝結水和(he)水管道,在歷年最冷月(yue)月(yue)平均溫度的(de)(de)(de)平均值高(gao)于(yu)(yu)0℃的(de)(de)(de)地區,應少設低點排(pai)液,低于(yu)(yu)或等于(yu)(yu)0℃的(de)(de)(de)地區,應在適當位置設低點排(pai)液。
⑧. 氫氣管道上不宜設(she)置(zhi)高點排(pai)氣和低點排(pai)液。
⑨. 蒸(zheng)汽(qi)主管(干(gan)管)的排液設施應(ying)包(bao)括(kuo)撲(pu)集管、切斷閥和(he)疏水閥(具體可見本書“蒸(zheng)汽(qi)管道集液包(bao)”所述)。
⑩. 公用(yong)工程管道的末端(duan)應(ying)設置低點排(pai)液(ye)口,以利(li)排(pai)液(ye)和吹(chui)掃。
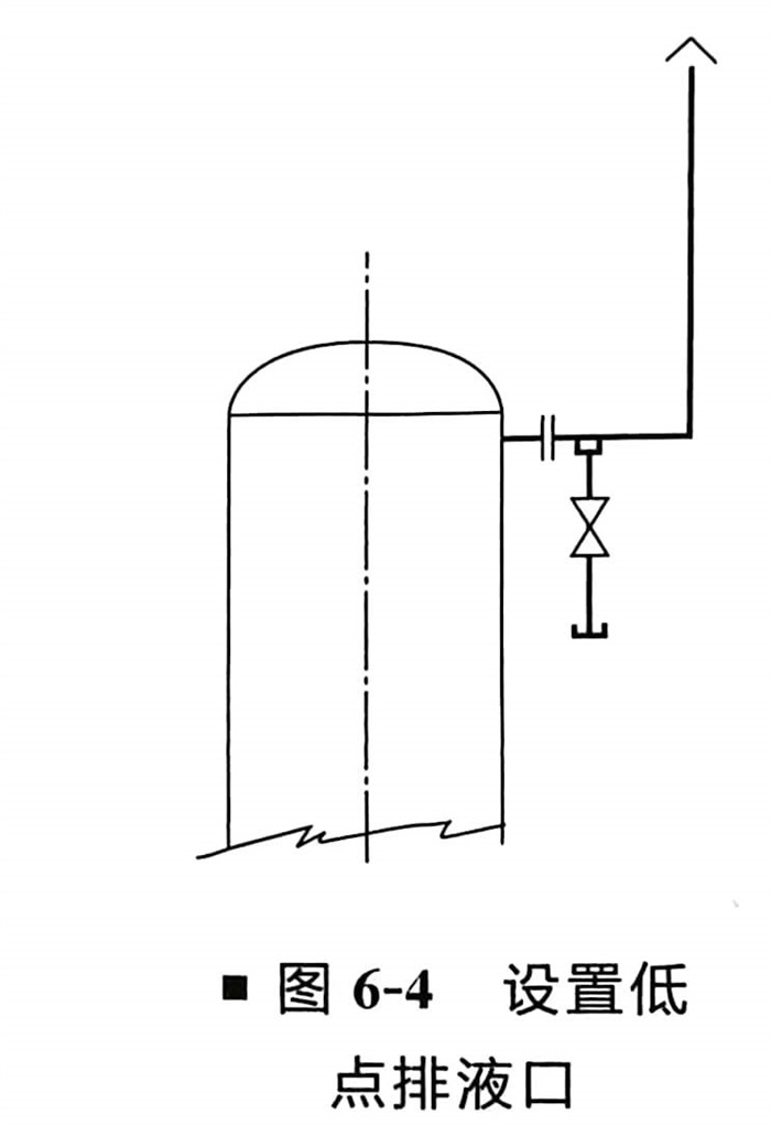
?. 凡向大氣排(pai)放的排(pai)氣管(guan)道,應設置(zhi)低點排(pai)液(ye)口,如圖6-4所(suo)示。

?. 輸送(song)催化劑(ji)或高黏度的物(wu)料(liao)(如焦(jiao)油、瀝青、重質(zhi)燃料(liao)油等)管道排氣、排液(ye)口(kou)的直徑應不小(xiao)于DN25。
?. 漿液管道不宜設置排氣和排液口,如需要設置排液口時其(qi)型式和尺寸見圖6-5和表6-3所(suo)示(shi)。

?. 輸送固體或漿料管道的排氣、排液管的切斷閥宜選用球閥(fa)或旋塞閥。
?. 管(guan)道上排氣、排液口設置的閥門應靠(kao)近主管(guan)。
?. 振(zhen)動管道上直徑(jing)小于DN40密(mi)閉放空、放凈管根部接口(kou)處應采取(qu)加強措施(shi)。
?. 輸送液態丁烷和更輕的液化烴(jing)類管道上的排氣、排液管的切斷閥(fa)(fa)應(ying)設(she)雙閥(fa)(fa)。
?. 放氣(qi)或(huo)排(pai)液(ye)管上的(de)切(qie)斷閥(fa)(fa)(fa),宜用閘(zha)閥(fa)(fa)(fa),閥(fa)(fa)(fa)后(hou)可(ke)接帶(dai)管帽短管;對于(yu)高壓(ya)、極度(du)及(ji)高度(du)危害(hai)介質(zhi)的(de)管道應(ying)(ying)(ying)設(she)雙閥(fa)(fa)(fa)。當設(she)置單閥(fa)(fa)(fa)時(shi)(shi),應(ying)(ying)(ying)加(jia)盲(mang)板或(huo)法蘭(lan)(lan)蓋(gai);連續操作的(de)可(ke)燃氣(qi)體(ti)管道低點的(de)排(pai)液(ye)閥(fa)(fa)(fa),應(ying)(ying)(ying)為雙閥(fa)(fa)(fa)。排(pai)出的(de)液(ye)體(ti)應(ying)(ying)(ying)排(pai)放至密(mi)閉系統:僅在開停工時(shi)(shi)使用的(de)排(pai)液(ye)閥(fa)(fa)(fa),可(ke)設(she)一道閥(fa)(fa)(fa)門并加(jia)螺(luo)紋堵(du)(du)頭、管帽、盲(mang)板或(huo)法蘭(lan)(lan)蓋(gai)。可(ke)燃液(ye)體(ti)管道以及(ji)大(da)于(yu)2.5MP。蒸(zheng)汽管道上排(pai)液(ye)管裝一個切(qie)斷閥(fa)(fa)(fa)時(shi)(shi),應(ying)(ying)(ying)在端頭加(jia)管帽(管堵(du)(du))盲(mang)板或(huo)法蘭(lan)(lan)蓋(gai)。
?. 容器設(she)備(bei)上的(de)排氣(qi)管除(chu)作為進出料呼吸用外,應設(she)置切斷(duan)閥,閥門宜直接與設(she)備(bei)管口相接。當(dang)只安(an)裝一個切斷(duan)閥時其端部應設(she)置絲堵、管帽或盲法蘭密(mi)封。
?. 允許向大(da)氣排(pai)放的介(jie)質排(pai)氣管端部(bu)的高度應符合(he)本書“管道布(bu)置設計的一般要求(qiu)”中“32大(da)氣排(pai)放的相關(guan)規(gui)定”。
21. 為保證(zheng)閥門檢(jian)修(xiu)、絲(si)堵、管帽及法蘭拆卸、軟管連接,管道(dao)上低點排液管管端距地面(mian)(mian)或樓板面(mian)(mian)的凈距不得小于100mm。
22. 接地漏(lou)或開口(kou)罐(guan)的放凈管管口(kou)應高出地漏(lou)或罐(guan)口(kou)大于(yu)(yu)或等于(yu)(yu)50mm。
23. 管道(dao)布置呈U形(xing)II形(xing)時,其水平(ping)或垂直管道(dao)上(shang)的排氣、排液口安裝位(wei)置盡(jin)量(liang)設置在物料流向的下游端部。
24. 對易(yi)自聚(ju)、易(yi)凍結、易(yi)凝固、含固體介質的(de)(de)管道上的(de)(de)排(pai)液管不應配(pei)成(cheng)如圖(tu)6-6(a)所示的(de)(de)彎管形(xing)式(shi)。一(yi)般應采用圖(tu)6-6(b)的(de)(de)形(xing)式(shi)。圖(tu)6-6(c)右側的(de)(de)排(pai)凈閥門放置不合(he)理,閥門上側易(yi)積液。

25. 排(pai)氣、排(pai)液管端部連(lian)接形式(shi)。
a. 當采用管螺(luo)紋管件連接時(shi),排(pai)氣、排(pai)液閥出口(kou)處加(jia)絲堵(du)密封。
b. 當采(cai)用承插焊接(jie)型管件連接(jie)時(shi),排氣(qi)、排液閥(fa)出口處加螺紋管帽密封(feng)。如排氣(qi)、排液閥(fa)為(wei)法蘭連接(jie)時(shi),可采(cai)用盲(mang)法蘭密封(feng),亦可采(cai)用螺紋法蘭加絲(si)堵。
c. 當采用(yong)定型管(guan)件連接時,管(guan)端部加(jia)(jia)盲板法(fa)蘭,需要時可(ke)采用(yong)螺紋法(fa)蘭加(jia)(jia)絲堵(du)。
26. 排(pai)(pai)氣和(he)排(pai)(pai)液型(xing)(xing)式分為兩類(lei)(lei),一類(lei)(lei)為帶(dai)閥門型(xing)(xing),另一類(lei)(lei)為不帶(dai)閥門型(xing)(xing)。不帶(dai)閥門的排(pai)(pai)氣和(he)排(pai)(pai)液不宜采用。
各種類(lei)型(xing)的(de)排(pai)氣、排(pai)液(ye)配管(guan)(guan)的(de)選用(yong)應根(gen)據工程(cheng)管(guan)(guan)道等級規定選用(yong)。
其中螺紋連(lian)(lian)接(jie)(jie)主(zhu)要(yao)用(yong)(yong)于低(di)壓(ya)公(gong)用(yong)(yong)工(gong)程(cheng)管(guan)道上的(de)排(pai)(pai)氣和排(pai)(pai)液。承插焊連(lian)(lian)接(jie)(jie)主(zhu)要(yao)用(yong)(yong)于碳鋼或(huo)低(di)合金鋼的(de)工(gong)藝管(guan)道或(huo)壓(ya)力較(jiao)高的(de)公(gong)用(yong)(yong)工(gong)程(cheng)管(guan)道上。法蘭連(lian)(lian)接(jie)(jie)主(zhu)要(yao)用(yong)(yong)于不銹鋼等合金鋼工(gong)藝管(guan)道上。設備上的(de)排(pai)(pai)氣類型較(jiao)多。圖6-7所示(shi)為常用(yong)(yong)排(pai)(pai)氣、排(pai)(pai)液管(guan)安裝圖(含工(gong)藝要(yao)求排(pai)(pai)氣和排(pai)(pai)凈)。


