一、塔的平臺(tai)
塔平臺為從人孔、手孔處檢修設備;緊固法蘭;操作和維修調節閥組及檢修、安裝液面調(diao)節閥、大口徑閥門、檢測儀表、安全閥等附件而設。
當下列附件需要布置在距地面3600mm以上,或距平臺面1800mm以上時,應考慮設置平臺(從地面至3600mm以下的高度時,可使用移動平臺):控制閥組;重沸器;人孔;安全閥;DN100以上的閥,電動閥;取樣裝置;DN200及以上的盲法蘭或“8”字盲板;有必要增加法蘭的地方;液位計。
現有的平(ping)臺(tai)(tai)寬度一般為(wei)1000~1500mm。人(ren)孔用平(ping)臺(tai)(tai)最小寬度為(wei)1000mm。
塔頂平臺是(shi)為(wei)操(cao)作吊柱、放空(kong)閥和維修安全(quan)閥設置的(de),可制成方(fang)形,大小按(an)需(xu)要確定。此外,還應考慮如下事項(xiang)。
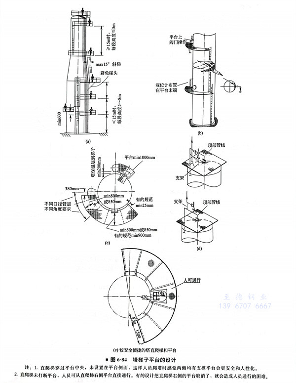
①. 人孔(kong)中心線以距(ju)平臺600~1000mm為(wei)宜,最適宜高度為(wei)750mm(SH 3011規定平臺距(ju)人孔(kong)底部(bu)不宜大于800mm)。
②. 有(you)兩個以(yi)上(shang)塔設(she)備(bei)并列(lie)的(de)(de)(de)情況下,建議統(tong)一(yi)平臺(tai)標高(gao),做聯合平臺(tai)。平臺(tai)應設(she)防(fang)護欄桿和踢腳板,欄桿高(gao)度以(yi)1.2m為宜;平臺(tai)的(de)(de)(de)進(jin)出(chu)口處應有(you)自動(dong)復位(wei)欄桿;影(ying)響檢(jian)修(xiu)的(de)(de)(de)欄桿段,應為可拆卸的(de)(de)(de)。
③. 聯合平(ping)(ping)臺(tai)應考(kao)慮各塔、架(jia)之間的熱脹及其移動因素,留(liu)有縫隙,加(jia)入適當的銷子。塔身(shen)用法(fa)(fa)蘭(lan)(lan)連接時(shi),應在法(fa)(fa)蘭(lan)(lan)下側設置平(ping)(ping)臺(tai),平(ping)(ping)臺(tai)面與法(fa)(fa)蘭(lan)(lan)的距離不(bu)宜大于(yu)1.5m。
④. 通(tong)常,平(ping)臺(tai)的均布荷載為250~50~400kgf/㎡(2.5~4kPa)為宜,因維(wei)修或管架(jia)原因需要平(ping)臺(tai)承(cheng)擔更大負荷時,須給設備工程師提出條件。
圖6-83~圖6-85所示為平臺設置(zhi)的照片。


二、吊(diao)柱
通常(chang),塔的高(gao)度超過15m以上(shang),及需(xu)(xu)滿足以下要求(qiu)時需(xu)(xu)要設置吊柱:有(you)填料時;有(you)內件(jian)及附件(jian)裝卸(xie)的情況。
吊柱布置應注意的事項(xiang)如(ru)下。
①. 吊(diao)柱(zhu)下方地面應留有充分的作業空間。
②. 應能達到(dao)塔上所(suo)有檢(jian)修和操(cao)作平臺的位置。
③. 在(zai)吊柱回轉覆蓋(gai)范(fan)圍內,應有(you)一處能(neng)夠(gou)避開(kai)所有(you)平臺和(he)管道(dao)的豎直通道(dao)。
④. 吊(diao)柱應布置在檢(jian)修側范(fan)圍(wei)內。
吊(diao)柱布(bu)置如圖6-86所示。

三(san)、梯(ti)子
塔(ta)器上的(de)梯子(zi)幾乎都是直梯,是上下各層平臺以及安全逃生的(de)通道(dao),也可作為(wei)觀察(cha)、操作和維修某些(xie)附件的(de)設施。
需(xu)要經常(chang)上去進行操作(zuo)和維修工作(zuo)的(de)平臺(tai)應設置(zhi)梯子;下列附件也可(ke)靠近直梯布置(zhi):3”及以下的(de)閥;各種(zhong)液位(wei)計視(shi)鏡;手孔;壓力計等儀表。
梯子布(bu)置應注(zhu)意的事項如下:
①. 梯(ti)子的布置(zhi)間(jian)距必須滿(man)足GB50160《石油化工企(qi)業設計防(fang)火規(gui)范》的規(gui)定。
②. 直梯寬度以(yi)0.4~0.6m為宜,高度超過2m時(shi)應加設安全護籠。
③. 塔平(ping)臺直梯應(ying)自下而上分段錯開布置。
④. 高(gao)度(du)在(zai)15m及以下(xia)時(shi),每段高(gao)5~8m為宜(yi),超(chao)過15m時(shi),每段應(ying)不高(gao)于5m,否則應(ying)設中間休(xiu)息平臺(按SH3011的規定)。
四(si)、管口方位
塔(ta)的(de)(de)(de)(de)管(guan)道(dao)與其他設(she)備管(guan)道(dao)相比,其特(te)點是(shi)根據工藝要求(qiu)安排(pai)好管(guan)口和塔(ta)盤(pan)等內(nei)部結(jie)構的(de)(de)(de)(de)關(guan)系,這(zhe)種(zhong)關(guan)系的(de)(de)(de)(de)好壞(huai)對管(guan)道(dao)布置的(de)(de)(de)(de)簡化、操作(zuo)的(de)(de)(de)(de)方便、檢修的(de)(de)(de)(de)難易、是(shi)否經濟等有(you)很大(da)的(de)(de)(de)(de)影響。因此,需要對塔(ta)的(de)(de)(de)(de)內(nei)部結(jie)構、塔(ta)的(de)(de)(de)(de)操作(zuo)進行充分了解(jie)。
1. 人(ren)孔 從檢(jian)修和操作上考慮,人(ren)孔方位應布置(zhi)在檢(jian)修側,且宜設(she)在同(tong)一垂線(xian)上,但不能朝(chao)向加(jia)熱(re)爐(lu)和其他危(wei)險氣體發生(sheng)區(qu)域(yu)(yu);若有兩(liang)臺塔并列時,人(ren)孔應朝(chao)向一致(zhi)(同(tong)一方向)。對(dui)有塔盤等(deng)內部結構的塔,人(ren)孔開設(she)的方位必須注意同(tong)內部構件的關系,應開設(she)在降(jiang)液管(guan)以外(wai)的區(qu)域(yu)(yu)。
①. 塔頂人孔。注(zhu)意到(dao)降(jiang)(jiang)液(ye)盤區(qu)即(ji)可(ke),但降(jiang)(jiang)液(ye)管在300mm以下(xia)時(shi),可(ke)圓(yuan)周(zhou)(360°)布置(圖 6-87)
②. 中間人孔(kong)。
③. 塔底人(ren)孔。


2. 儀表管口 儀表最好不(bu)要放在人孔旁(有破損的危(wei)險(xian))。
①. 液位(wei)計(ji)和(he)液位(wei)調節器的(de)(de)(de)開(kai)口(kou)應(ying)布置在(zai)便于監視、檢(jian)查及能從抽出泵(beng)和(he)調節閥(fa)的(de)(de)(de)旁通處看得見的(de)(de)(de)位(wei)置,且液面應(ying)不(bu)受流(liu)入液體(ti)沖擊的(de)(de)(de)影響。
②. 液位調節變送(song)器(qi)(qi),應設(she)在(zai)平臺(tai)或梯子(zi)上(shang)操作方便的(de)地(di)方,站在(zai)梯子(zi)平臺(tai)上(shang)操作的(de)液位調節器(qi)(qi)和液位計宜安裝在(zai)梯子(zi)的(de)右(you)側。
③. 液(ye)位(wei)調節(jie)器最(zui)適宜的位(wei)置(zhi),是在檢查液(ye)位(wei)調節(jie)器時,可以看到液(ye)位(wei)計的地方;并應(ying)(ying)考慮由于液(ye)相進料(liao)影響(xiang)的液(ye)位(wei)波動(dong)。當(dang)設(she)置(zhi)的擋板不能(neng)避免液(ye)位(wei)波動(dong)時,應(ying)(ying)與(yu)(yu)設(she)備專業(ye)協商解決(jue)液(ye)位(wei)計的方位(wei),取決(jue)于受液(ye)槽與(yu)(yu)重沸器返回(hui)口間(jian)的關系(xi)(圖6-92、圖6-93)。
④. 兩個(ge)低(di)溫液位計不要靠在一(yi)起,防(fang)止(zhi)“冷(leng)橋”產生和結霜(圖6-94)。
⑤. 壓力(li)表開口和壓差計(ji)上部開口應(ying)布置在氣(qi)相區。框架內的(de)塔,如果(guo)壓力(li)表、溫度計(ji)管口與結構梁過于接(jie)近,應(ying)考慮(lv)安裝的(de)可能性,必(bi)要時與設備工程師商量(liang)以進行修(xiu)改。

3. 回流(liu)管(guan)、進料管(guan)和抽出管(guan)等布置(圖6-95~圖6-97)塔(ta)頂(ding)(ding)(ding)氣相(餾(liu)出線)開(kai)(kai)口布置在(zai)塔(ta)頂(ding)(ding)(ding)頭蓋中部(bu),安全閥開(kai)(kai)口、放空管(guan)開(kai)(kai)口一般布置在(zai)塔(ta)頂(ding)(ding)(ding)氣相開(kai)(kai)口的(de)附近,也可(ke)將放空管(guan)開(kai)(kai)口布置在(zai)塔(ta)頂(ding)(ding)(ding)氣相管(guan)道最高水平段(duan)的(de)頂(ding)(ding)(ding)部(bu)。
塔(ta)頂回(hui)流或中段回(hui)流的開(kai)口(kou),一般布置(zhi)在塔(ta)板(ban)的管道側,回(hui)流管的內部(bu)結構和(he)開(kai)口(kou)方(fang)位與塔(ta)溢(yi)流方(fang)式(shi)有關。
氣(qi)相(xiang)進料開口一(yi)般布置在塔板(ban)上方(fang),與降液(ye)管平行,當氣(qi)流速度較高(gao)(gao)時,應設(she)分(fen)配管;氣(qi)液(ye)相(xiang)混合進料開口一(yi)般布置在塔板(ban)上方(fang),并設(she)分(fen)配管,當流速較高(gao)(gao)時應切(qie)線進入,并設(she)螺旋導板(ban)。
塔(ta)板(ban)(ban)的抽出口:單溢(yi)流塔(ta)板(ban)(ban),從流體的均衡性(xing)考(kao)慮,開(kai)口應(ying)與(yu)受液(ye)槽垂直布置;雙溢(yi)流塔(ta)板(ban)(ban),無(wu)論是(shi)一個(ge)開(kai)口或是(shi)兩個(ge)開(kai)口,開(kai)口都宜布置在與(yu)降液(ye)管平(ping)行的塔(ta)中心線上(shang)。


