①. 往復泵的管道存在著由于流體脈動而發生振動的現象,管道應盡量減少拐彎。
②. 為防止往復泵(beng)管(guan)(guan)(guan)道的脈沖振(zhen)動,泵(beng)出口管(guan)(guan)(guan)道第一個支架應采用(yong)固定(ding)架,其余支架應采用(yong)防振(zhen)管(guan)(guan)(guan)卡,同時(shi)注意減(jian)小(xiao)支架跨距,增(zeng)加支架剛度,以抑制可能產生的機械振(zhen)動。
③. 除注(zhu)意上(shang)述要求(qiu)外,還應根據工(gong)藝(yi)要求(qiu)及(ji)泵制造(zao)廠的(de)使用經驗(yan)。
④. 在泵出口(或盡量(liang)靠近出口)處安裝足夠容積的緩(huan)沖罐(或脈動(dong)衰(shuai)減器),以緩(huan)解或消除所產生的脈沖振動(dong)。
⑤. 當(dang)輸送(song)介(jie)質(zhi)溫度(du)高于180℃時(shi),減振(zhen)緩沖罐的(de)連接管(guan)應有3m左右長(chang)度(du)的(de)不保(bao)溫管(guan)段(圖6-178)。

⑥. 在泵的前端應(ying)留(liu)有(you)活(huo)(huo)塞桿抽出檢修的空間;管道布置不應(ying)妨礙活(huo)(huo)塞及拉桿的拆卸和檢修。
⑦. 在泵和第一個(ge)容器之間的(de)進出(chu)口(kou)(kou)管(guan)道上的(de)支管(guan)公稱直徑(jing)小(xiao)于或等于25mm(包括出(chu)口(kou)(kou)管(guan)道上的(de)壓力表(biao))時,接口(kou)(kou)根部需設加強連接板,以防止管(guan)接口(kou)(kou)損壞。
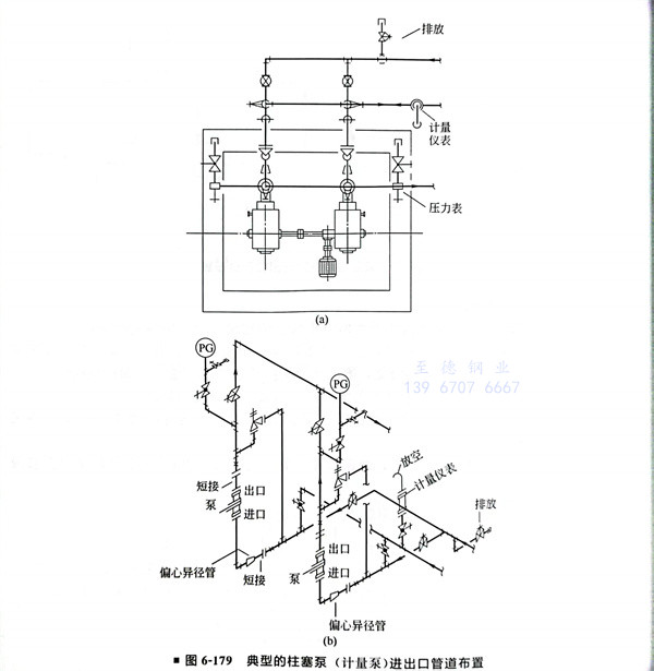
⑧. 典型(xing)的柱塞泵(計量泵)進出口管(guan)道(dao)布置(zhi)如(ru)圖(tu)6-179所示。


