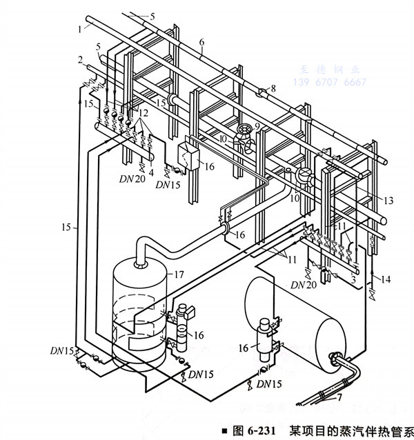
蒸汽(qi)分(fen)配站和(he)供氣管(guan)的布置(圖6-226)
冷凝(ning)水回收時收集站和冷凝(ning)水回收管的布置(圖6-227)

注:1. 冷凝(ning)(ning)水(shui)收集站高于冷凝(ning)(ning)水(shui)總管時,低點可不設排(pai)液口;回水(shui)管應無袋形并坡(po)向冷凝(ning)(ning)水(shui)總管。
2. 冷凝(ning)水(shui)收集站至(zhi)少有3根冷凝(ning)水(shui)支(zhi)管時才設(she)置,否則可(ke)直接接至(zhi)冷凝(ning)水(shui)總管上。
3. 冷(leng)凝水收集站應布(bu)(bu)置(zhi)在不妨礙通行,便于操作的地方,布(bu)(bu)置(zhi)應考慮整齊和美觀(guan)。
4. 冷凝水回水管的閥門應(ying)布置在便于接(jie)近的地方(fang)。
5. 冷凝(ning)水回水管(guan)應從冷凝(ning)水總管(guan)的頂部引人。



熱水分配站限流孔板(ban)的錯誤設計
有(you)的設計人員為(wei)每根伴熱(re)供管都增加了限流孔板,這是沒有(you)真正理解限流孔板的作用,其實只有(you)在同(tong)一個熱(re)水(shui)分(fen)配站上(shang)最短(duan)熱(re)水(shui)伴管當量長(chang)度小于最長(chang)伴管當量長(chang)度70%的時候,才在較短(duan)管線上(shang)增加限流孔板或截止閥才有(you)作用,否則既浪(lang)費(fei)又不(bu)起(qi)作用。

