一、閥門(men)的選擇和(he)測試(shi)準備
1. 必須提供測試閥門的填料API622證書或測試報告,將其附在API624低泄漏測試報告中。
2. 需(xu)測試(shi)的閥(fa)門(men)(men)應全部裝配好(hao),以(yi)(yi)待測試(shi)。閥(fa)門(men)(men)應從(cong)生產(chan)(chan)廠家或分銷商庫(ku)(ku)存(cun)處(若(ruo)存(cun)在此庫(ku)(ku)存(cun))隨機選 擇(ze)。若(ruo)非庫(ku)(ku)存(cun)閥(fa)門(men)(men),廠家需(xu)保(bao)證(zheng)被測試(shi)的閥(fa)門(men)(men)之前沒有(you)進行任何修改以(yi)(yi)滿足(zu)型(xing)式測試(shi)的要求,且此閥(fa)門(men)(men)可 以(yi)(yi)作為廠家庫(ku)(ku)存(cun)產(chan)(chan)品的典型(xing)代(dai)表。閥(fa)門(men)(men)的選擇(ze)需(xu)要得到(dao)購買方的批(pi)準(zhun)。
3. 中道和壓蓋(gai)螺栓的(de)扭(niu)矩(ju)需證實與廠家的(de)發行的(de)安裝規(gui)范一致(zhi)。
4. 閥門所(suo)有的先(xian)期測試需記(ji)錄于低泄漏測試報告(附件一)中(zhong)。
5. 作為安全預防(fang)措施,在(zai)測(ce)試之前,需用惰性(xing)氣體來(lai)清空閥門腔內的空氣。
二(er)、型式(shi)測試
1. 測試的介質需用最小純度為97%的甲烷。
注意:測(ce)試期間使用(yong)的甲烷是一(yi)種加壓可燃氣體(ti),要(yao)求(qiu)采取適當的安全(quan)措施(shi)。
a. 閥門的(de)(de)(de)測試具有潛(qian)在(zai)的(de)(de)(de)危(wei)險,必須把人員的(de)(de)(de)安全放在(zai)首位考慮。鑒(jian)于此(ci)測試的(de)(de)(de)性(xing)質,可(ke)能會發(fa)生加 壓(ya)氣體危(wei)險的(de)(de)(de)釋放。需在(zai)測試封閉區域提供充分的(de)(de)(de)屏障(zhang)或隔(ge)離以及恰當的(de)(de)(de)人員保護措施。
b. 測試(shi)設施需(xu)設計成(cheng)可(ke)確保(bao)(bao)所有(you)(you)的(de)測試(shi)狀況是在安(an)全(quan),有(you)(you)保(bao)(bao)護的(de)環境下進(jin)行(xing)。測試(shi)廠家(jia)有(you)(you)責任(ren)去分(fen)析 由于(yu)壓(ya)力和溫度造(zao)成(cheng)的(de)危害(hai),并作出適(shi)當的(de)安(an)全(quan)保(bao)(bao)護措(cuo)施。應遵守所有(you)(you)可(ke)適(shi)用的(de)安(an)全(quan)法規(gui)。
c. 所(suo)有的(de)(de)設備需有相應的(de)(de)證(zheng)書證(zheng)明其可(ke)以承受最(zui)小和(he)最(zui)大的(de)(de)壓力以及測試環境的(de)(de)溫度。
d. 供應甲烷(wan)的(de)進口和出(chu)口所用的(de)軟(ruan)管(guan)和管(guan)道應可(ke)適(shi)用最(zui)大和最(zui)小壓力(li)和溫度(du)。當用到軟(ruan)管(guan)時,需(xu)設計 適(shi)當的(de)控(kong)制(zhi)系統來防止萬一發生(sheng)介質吹出(chu)時,軟(ruan)管(guan)從測試(shi)臺面分離。
e. 所有測試需(xu)遵守當地(di)和國家的相關法(fa)律(lv)法(fa)規。
2. 測試的(de)閥(fa)(fa)門的(de)閥(fa)(fa)桿(gan)方向需是垂直的(de)。
3. 閥門(men)需根據圖(tu)1進行總共310個(ge)機械(xie)循環(huan)(huan)和3個(ge)熱循環(huan)(huan)周期。
閥門(men)在(zai)室溫情況下開始做(zuo)機械循環(huan)。若(ruo)買方 有要(yao)求,可選做(zuo)在(zai)–29 °C (–20 °F)的低(di)溫測試(見圖1)

4. 閥門可用內(nei)(nei)部熱(re)源或(huo)者(zhe)如電(dian)熱(re)毯,線圈等外部熱(re)源來加熱(re),也可用其他合適的設備或(huo)適當的內(nei)(nei)部熱(re)源 來加熱(re)。
5. 加(jia)熱溫度應升高至260 °C (500 °F) ±5%
6. 可(ke)適用(yong)的(de)材料(liao)的(de)測(ce)試壓力(li)需低于41.4barg(600psig),或根據ASME B16.34在(zai) 260 °C (500 °F)下的(de) 最(zui)大允許壓力(li)值,并(bing)且(qie)在(zai)整個測(ce)試期間保持不(bu)變(bian)。
7. 測(ce)試的(de)閥(fa)門可安裝一種(zhong)使閥(fa)門機(ji)械循(xun)環的(de)驅(qu)動。此驅(qu)動不可強加給閥(fa)桿或填料額(e)外的(de)側邊載荷。第一 次和(he)最后一次的(de)測(ce)試需記錄運行(xing)扭矩值。
8. 需(xu)記錄靜態(tai)和動態(tai)的閥桿泄漏測量值。
a. 泄漏需在靜態空氣中進行測量。
測試期(qi)間應使用(yong)鋁箔外殼來屏蔽受(shou)環境影響的(de)潛在(zai)的(de)滲漏通路。鋁 箔外殼應包括閥桿(gan)外徑和填料的(de)外徑。
b. 需對中道連接和輔助連接進行泄漏探(tan)測。
中(zhong)道連接和(he)輔(fu)助連接的泄漏會影(ying)響泄漏測(ce)量的讀數(shu),應在(zai)(zai) 測(ce)試之(zhi)前糾正過來(lai),并在(zai)(zai)報(bao)告中(zhong)記錄。閥蓋的探測(ce)針頭的速率應該(gai)在(zai)(zai)每秒(miao)25mm(1英寸)。應調整儀器(qi)來(lai)彌補 后臺的甲烷(wan)水平。
c. 應(ying)在以(yi)設備反應(ying)時間兩倍的時間延遲(chi)后,記(ji)錄靜態(tai)/動(dong)態(tai)泄漏(lou)。
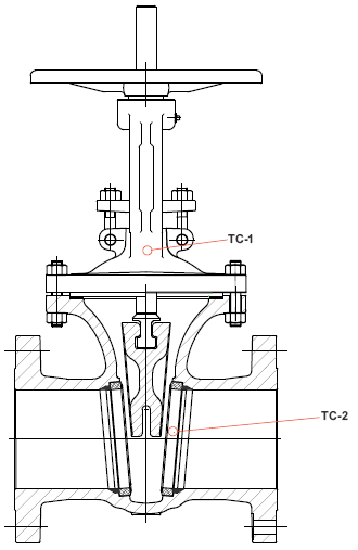
9. 閥(fa)門應配備(bei)熱電偶來監(jian)測(ce)測(ce)試期間的溫度。應在兩個位置監(jian)測(ce)并記錄(lu)溫度。(見圖2)

a. TC-1處(chu),附在(zai)(zai)填料(liao)(liao)箱上。附在(zai)(zai)填料(liao)(liao)箱上的(de)熱電偶(ou)需(xu)控制溫度。
b. TC-2處,固定在(zai)閥(fa)體外部,臨(lin)近流通路徑的地方,可(ke)作(zuo)為參考測量。
c. TC-2處,需(xu)與TC-1處值(zhi)同等或大于TC-1處。
10. 不允許(xu)在型式測試過程中調整填(tian)料(liao)。
浙江至德鋼業有限公司專業生產不銹(xiu)鋼管及管道連接配件廠家,倉庫常備不銹鋼管庫存1000余噸及部分不銹鋼法蘭管件(彎頭|三通|大小頭)現貨,常用規格可當天發貨。另可提供各種不銹鋼管切割、拋光、折彎、鉆孔、焊接、車床加工及管道預制件加工等配套服務。

