球墨鑄鐵(tie)管件(jian)接口配套件(jian)型式與尺(chi)寸主要有以下幾種:
一(yi)、接(jie)口型式與尺寸(cun)
1. DN40~DN1200 T型接口球鐵管的型式見圖(tu)6-2,公稱尺(chi)寸見表6-2;DN1400T型接口球鐵管的型式見圖(tu)6-3,公稱尺(chi)寸見表6-2。




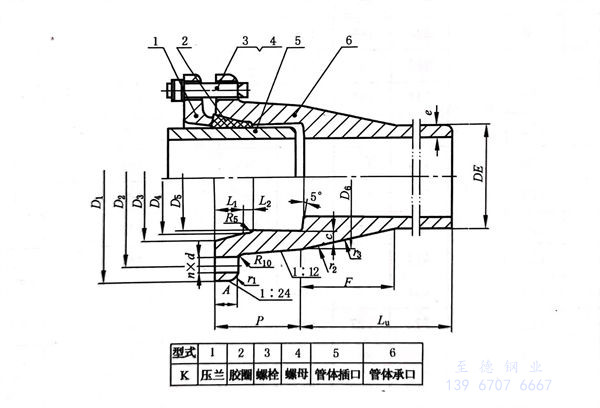
2. K 型接口球鐵管的型式見(jian)圖(tu)6-4,公稱(cheng)尺寸見(jian)表6-3;



3. NⅡ 型(xing)接口球鐵管的型(xing)式見圖6-5,公稱尺寸見表6-4;


4. S Ⅱ 型(xing)(xing)接(jie)口球鐵管的型(xing)(xing)式見圖6-6,公(gong)稱(cheng)尺寸見表6-5;

二、接(jie)口配套件型式(shi)與尺寸
1. 壓蘭
①. 壓蘭型式與尺寸
a. 適(shi)用于K型接口的壓蘭型式見(jian)圖6-7,尺寸(cun)見(jian)表(biao)6-6。

b. 適用于(yu)NⅡ及S Ⅱ型接口(kou)的(de)壓蘭(lan)型式(shi)見圖6-8及圖6-9,尺寸見表6-7。

②. 尺寸允許偏差
壓(ya)蘭尺寸(cun)允許偏(pian)差見表 6-8;壓(ya)蘭的法蘭尺寸(cun)允許偏(pian)差見規(gui)定。

2. 螺(luo)栓及六角螺(luo)母
適用(yong)于以(yi)球墨鑄鐵(tie)為材料(liao),經過鑄造和機械(xie)加(jia)工成型的(de)柔性機械(xie)接(jie)口(kou)與(yu)管(guan)件用(yong)螺栓和六角螺母的(de)型式見圖(tu)6-10,尺寸見表6-9。

3. 密封件
a. T 型接口球鐵管和管件用膠圈
T 型接口用(yong)膠圈的型式見圖6-11 和圖6-12,尺寸(cun)見表6-10。


b. K 型接口用膠圈(quan)
K 型接口用膠(jiao)圈的型式見(jian)圖6-13 ,尺寸見(jian)表6-11。

c. NⅡ型(xing)接口用(yong)密封(feng)件(jian)式(shi)
膠圈的型式見圖6-14 ,尺寸見表6-12。

支撐圈的型(xing)式見圖6-15 ,尺(chi)寸(cun)見表6-13。
d. SⅡ型接口用密封件式
密封(feng)圈的型式見(jian)圖6-16 ,尺寸見(jian)表(biao)6-14。

隔離圈的型式見(jian)圖6-17 ,尺寸見(jian)表6-15。

鎖環的型(xing)式(shi)見(jian)圖6-18 ,尺寸見(jian)表6-16。

