①. 集(ji)液包應設置在(zai)下列場(chang)合。
a. 蒸(zheng)汽(qi)主管的末端。
b. 蒸汽管線的立式(shi)II形補償彎管或立管最低處。
c. 蒸汽(qi)水平管的低(di)點(dian)處。
d. 裝置邊界(jie)蒸汽管線切斷閥(fa)之前。
②. 水(shui)平敷(fu)設的長蒸(zheng)汽管(guan)應設集(ji)液(ye)包,其(qi)間隔如下。
a. 在裝置內,飽和蒸(zheng)汽宜為(wei)80m,過熱(re)蒸(zheng)汽宜為(wei)160m。
b. 在裝(zhuang)置外,順坡時宜為300m,逆坡時宜為200m。
③. 管廊上蒸汽總管末端(duan)的集液包(bao)配管應考慮以(yi)下要求。
a. 集液包(bao)及(ji)接管與(yu)梁(liang)之間的(de)凈(jing)距應大于熱位移量及(ji)保(bao)溫(wen)所(suo)需的(de)空間,且不小于200mm(圖6-17)。
b. 集液包的(de)冷凝(ning)水出口(kou)管(guan)的(de)方位(wei)不宜向管(guan)廊(lang)梁的(de)一側引出,同(tong)時避免(mian)與(yu)管(guan)廊(lang)下層管(guan)道相碰(peng)。疏水閥(fa)應布(bu)置在不影響通行的(de)地方。
c. 集液(ye)包的(de)冷凝水出口管的(de)走(zou)向,除考(kao)(kao)慮管道(dao)柔(rou)性(xing)要(yao)求外,還(huan)要(yao)考(kao)(kao)慮便于設置管道(dao)支架及疏水閥組的(de)支架。
d. 在(zai)蒸汽主(zhu)管的(de)位移較大時,靠近主(zhu)管的(de)小管支架應盡量(liang)利用主(zhu)管生根,以減小相對(dui)位移。
e. 蒸汽管徑小于(yu)DN80時,根據項(xiang)目要求可(ke)不必(bi)采用(yong)集(ji)液包,僅設低點排放至(zhi)疏水閥即可(ke)。

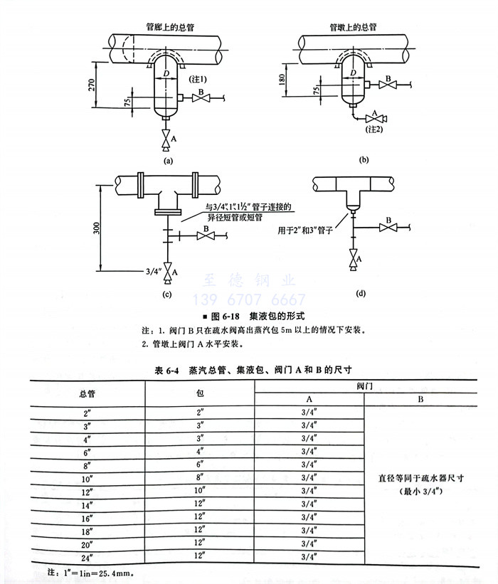
④. 集液包的結(jie)構如下。
a. 集液包的冷凝水出口管線應設切斷閥或(huo)蒸汽疏(shu)水閥組。
b. 集液包通常采用(yong)標準管(guan)(guan)件組合而成,應符合管(guan)(guan)道等級(ji)規定。集液包下端宜用(yong)法蘭蓋,兼作吹掃用(yong)。也可以用(yong)焊接管(guan)(guan)帽(mao),但需增加排液口。
c. 根據蒸汽(qi)主管的管徑范圍組合(he)形式,集液包有如圖6-18所示的幾種形式。蒸汽(qi)總管、集液包、閥門(men)A和B的尺寸見表6-4。


