氮 氮作為合金元素早期用于Cr-Mn-N和Cr-Mn-Ni-N奧氏體不銹鋼中,以節約鎳。除節鎳效果外,氮通過固溶強化可顯著提高奧氏體(ti)不(bu)銹(xiu)鋼的強度,而不顯著損害其塑性和韌性,同時氮還可以提高鋼的耐均勻腐蝕(shi)、耐點蝕、耐縫隙(xi)腐蝕和耐晶間腐蝕的性能。
由于氮的良好(hao)作用(yong),用(yong)氮合金化的奧(ao)(ao)氏體不(bu)銹(xiu)鋼(gang)不(bu)斷取(qu)得進展(zhan)并(bing)獲得應(ying)用(yong)。目前應(ying)用(yong)的含氮奧(ao)(ao)氏體不(bu)銹(xiu)鋼(gang)可以分(fen)為(wei)三(san)種類型:
1. 控氮(dan)型
此類(lei)鋼(gang)是在超(chao)低碳(tan)(0.02%~0.03%)鉻(ge)鎳奧氏(shi)體不銹(xiu)鋼(gang)中(zhong)加(jia)入0.05%~0.12%N,用以提(ti)高鋼(gang)的強(qiang)度,使其達(da)到含(han)穩定化元素鈦(tai)或普通低碳(tan)(≤0.08%)奧氏(shi)體不銹(xiu)鋼(gang)的水平。
2. 中氮型(xing)
此類鋼(gang)(gang)(gang)含(han)有0.12%~0.40%N,是在正常大氣壓力條件下(xia)冶煉和(he)澆鑄所得到的(de)(de)氮合金化奧氏體不銹鋼(gang)(gang)(gang)。此類鋼(gang)(gang)(gang)以耐腐(fu)蝕為(wei)主要目的(de)(de),同時具(ju)有較高的(de)(de)強度。
3. 高氮型
此類(lei)鋼(gang)氮含(han)量在0.40%以上(shang)。此類(lei)鋼(gang)在加壓條件(jian)下(xia)冶(ye)煉(lian)和澆(jiao)鑄(zhu),或者調整鋼(gang)中的鉻、錳(meng)含(han)量在常規條件(jian)下(xia)冶(ye)煉(lian)和澆(jiao)鑄(zhu),將(jiang)氮加入(ru)到足夠高的水(shui)平(ping)。此類(lei)鋼(gang)主要在固溶態(tai)或半(ban)冷(leng)加工狀態(tai)下(xia)使用(yong),既具有高強度,又(you)耐腐蝕。
氮形成奧氏體的能力與碳相當,約為鎳的30倍。氮在奧氏體不銹鋼中可代替部分鎳,可降低鋼中的鐵素體含量,并使奧氏體更穩定,甚至可避免出現馬氏體轉變。在鉻鎳奧氏體不銹鋼中,氮含量的增加可形成氮化物Cr2N(圖9.54)。

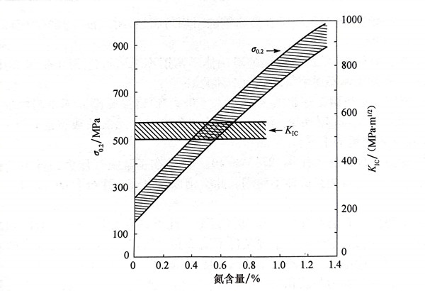
氮顯著提高奧氏體鋼的強度(圖4.19),每加入0.010%N,可提高鉻鎳奧氏體不銹鋼的室溫強度(σ0.2、σb)60~100MPa,其塑性仍保持足夠高的水平。圖9.67顯示氮含量對022Cr19Ni10鋼室溫力學性能的影響。在高氮奧氏體鋼中,氮亦可以提高其強度,氮含量為1.2%的低碳Cr-Ni-Mn-N奧氏體不銹鋼的屈服強度可達800~900MPa。曾對低碳的18Cr-18Mn-N奧氏體不銹鋼的力學性能進行過研究,經固溶處理后可獲得單一的奧氏體組織,圖9.68為氮含量對其室溫屈服強度和斷裂韌度的影響。研究結果表明,在氮固溶于奧氏體的情況下,其含量高至0.74%時,斷裂韌度不降低,而其屈服強度顯著提高。通過冷加工變形,可以進一步提高其屈服強度。在固溶氮含量為0.58%時,經過40%的冷變形,鋼的屈服強度可達1400~1500MPa,其斷裂韌度將由很高的500MPa·m1/2降至依然不錯的200MPa·m1/2。

在(zai)氮含(han)量小于(yu)0.67%時,鉻(ge)鎳(nie)奧氏體不銹鋼仍有(you)低(di)(di)的韌脆轉變溫(wen)度(du),在(zai)-200℃的低(di)(di)溫(wen)下仍有(you)足夠高(gao)的沖擊性(xing)(xing)能,但當氮含(han)量達到0.84%時,其韌脆轉變溫(wen)度(du)較高(gao),-200℃的沖擊韌性(xing)(xing)已顯(xian)得過低(di)(di)。
在一些酸性介質中,氮提高奧氏體不銹鋼耐一般腐蝕性能。適量的氮還提高奧氏體不銹鋼敏化態的耐晶間腐蝕性能,這是由于氮作為活性元素優先沿晶界聚集,氮降低碳原子和鉻原子的擴散能力,從而抑制M23C6型碳化物的析出和延緩σ相、x相的形成。圖9.69為氮對17Cr-13Ni-4,5Mo鋼中M23C6型碳化物析出行為的影響。適量的氮還可以顯著改善敏化狀態的耐晶間應(ying)力腐蝕開裂。

氮還(huan)提高鉻鎳鉬奧氏體不銹鋼耐稀硝酸腐(fu)蝕的性能(neng)。
在氯化(hua)物環(huan)境中(zhong),氮(dan)顯著(zhu)提高奧氏體不(bu)(bu)銹(xiu)鋼耐點(dian)蝕(shi)和縫隙腐蝕(shi)的(de)性能。研究表明,氮(dan)僅是(shi)強化(hua)鉻、鉬(mu)元(yuan)素在奧氏體中(zhong)的(de)耐蝕(shi)作(zuo)用,鉻、鉬(mu)的(de)存在是(shi)氮(dan)改善奧氏體不(bu)(bu)銹(xiu)鋼耐蝕(shi)作(zuo)用的(de)前(qian)提。氮(dan)耐點(dian)蝕(shi)和耐縫隙腐蝕(shi)的(de)能力約相當于鉻的(de)30倍。
氮提高不銹鋼耐點蝕和耐縫隙腐蝕的機理尚有不同的觀點:氮在表面膜中富集,同時使表面膜中富鉻,從而提高鋼的鈍化能力和鈍態穩定性;氮與閉塞區的溶液反應形成NH-4,消耗H-,使初始蝕坑內pH升高,氮亦可產生NO-3,均有利于鋼的鈍化。
鉻鎳奧氏體不銹鋼中的(de)(de)(de)氮含量在(zai)0.12%~0.15%時,鋼的(de)(de)(de)熱、冷加(jia)(jia)工性(xing)及冷成(cheng)形性(xing)等將有所(suo)下降。熱加(jia)(jia)工性(xing)能的(de)(de)(de)降低是由于鋼中氮化(hua)物和碳氮化(hua)物的(de)(de)(de)析出(chu)影響了鋼的(de)(de)(de)熱塑(su)性(xing),而(er)氮的(de)(de)(de)固溶(rong)強(qiang)化(hua)又減(jian)緩(huan)鋼的(de)(de)(de)回(hui)復過(guo)程(cheng)。冷加(jia)(jia)工性(xing)和冷成(cheng)形性(xing)的(de)(de)(de)降低主要是氮固溶(rong)強(qiang)化(hua)所(suo)致(zhi)。

